Amerlite


Amerilite

THE WORLD STANDARD OF RELIABILITY FOR POOL LIGHTING

Amerlite, the world standard of reliability for underwater lights, features a stainless-steel shell, a 8.375-in. prismatic tempered glass lens and a stainless-steel face ring with uni-tension clamp. Amerlite systems are UL Listed to install in full-sized Pentair, American, PacFab and Purex niches.

  • World standard of reliability
  • Superior light diffusion
  • Low water cutoff
  • Lens covers available in blue, red, green and amber
  • Plastic snap-on face rings available for stainless-steel lights
  • Available only in store from Pentair dealers or retail stores
Amerilite

CUSTOMIZE THE LOOK AND FEEL

With Amerlite lights, you can create different moods with optional snap-on lens covers in blue, red, green and amber. And, the optional plastic snap-on face rings let you coordinate with your pool's finish.

Amerilite

PREMIUM PERFORMANCE

Amerlite lights feature prismatic tempered glass lenses for optimum light diffusion. They also have a heat-sensing cutoff for low water protection. And, their design allows for bulb changes without lowering your water level.

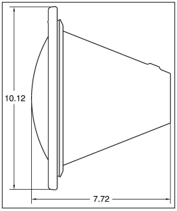
Dimensions

Amerilite